Zbieraj BROpoints przy każdym zakupie!

Direkt ist günstiger für Dich!Direkt ist günstiger für Dich!

Wusstest du, dass Preisvergleich-Plattformen und Suchmaschinen bei jedem Kauf fett mitverdienen? Über 20 % vom Preis gehen nur für Werbung drauf – und das zahlen am Ende alle mit. Wir sagen: Nein danke und möchten die Werbekosten lieber als Preisreduktion an Euch weitergeben!

Aus diesem Grund übermitteln wir nicht mehr unseren gesamten Bestand, die Bestpreis-Angebote und Deals an die großen Plattformen und können Dir so - neben den Geschenken, BROpoints und anderen Vorteilen - wesentlich bessere Preise geben, die Du ausschließlich bei uns findest. Deswegen lohnt es sich, ohne Umwege, direkt zu uns zu kommen.

Initiative für bessere Preise und mehr Fairness im Online-Handel.

Finde hier ALLE ANGEBOTE, für die wir derzeit den Online-Bestpreis haben.

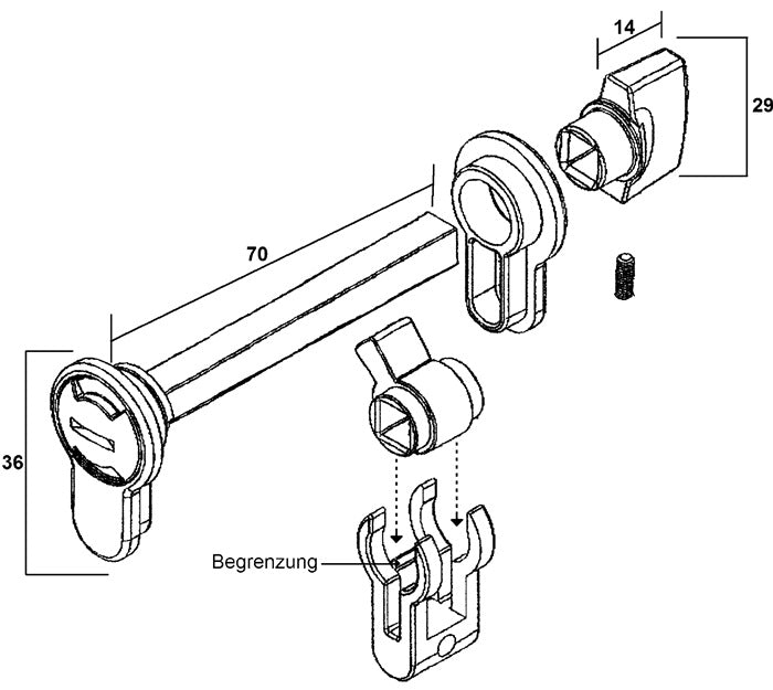
Szczegóły produktu i zakres dostawy

SKU: 138248
EAN: 4260240672184

Zakres dostawy:
- 1x SCHNEGEL WC/moduł łazienkowy z drzwiami całoszklanymi, montaż poziomy
- Moduł WC/łazienkowy PZ (jako kompletny zestaw) ze śrubą do płyty czołowej, kluczem imbusowym i instrukcją montażu

Opis produktu:
do zamków wpuszczanych o długości trzpienia wkładki 70 i 100 mm z regulacją wstępną - do łatwego przestawienia na funkcję rygla WC - obrót gałki zamka o 90° - otwieranie awaryjne z głowicą szczelinową - czerwony/zielony wskaźnik zajętości - w komplecie śruba czołowa do mocowania jak wkładka bębenkowa - blokowanie śrubą z gniazdem sześciokątnym

Dane techniczne:
- Powierzchnia: odlew aluminiowy
- Odpowiedni dla: Drzwi całoszklane, montaż poziomy
- Uzupełnienie: z akcesoriami
- Marka: SCHNEGELDo użytku komercyjnego, należy przestrzegać przepisów budowlanych!

W przypadku użytku komercyjnego należy przestrzegać przepisów budowlanych!

Kształt produktu

Schnegel WC/moduł łazienkowy 007/7244 ( 3000259600 ) Drzwi całoszklane, montaż poziomy z akcesoriami

  • Producent SCHNEGEL
  • Stan  Nowe towary
  • Unzufrieden? 100 Tage kostenfreie Retoure

Informacje na temat importu do Szwajcarii! 🇨🇭🇱🇮 Zajmujemy się odprawą celną. Otrzymasz przesyłkę w normalnym czasie dostawy i nie musisz się o nic martwić. Twoja faktura zawiera szwajcarski podatek VAT, więc zamawianie u nas jest dla Ciebie jak normalne zamówienie krajowe. To samo dotyczy zwrotów!

CHF 40.27
z VAT, plus koszty wysyłki
    • American Express
    • Apple Pay
    • Google Pay
    • PayPal
    • Klarna
    • Mastercard
    • +12 weitere

    +780.000 BROs folgen uns auf

     

    Smarte Produktberatung

    Rechnung, Versand & GPSR

    Versand & Rechnung durch: Dinotech e.K.

    Osoba odpowiedzialna za UE (GPSR) Podmiot gospodarczy z siedzibą w UE, który zapewnia zgodność produktu z wymaganymi przepisami.
    • info@schnegel.de
    • +49204143511
    • Germany
    • 46240 Bottrop
    • Weusterstraße 17
    • Schnegel Baubeschlags-, Sicherheits-, und Schliesstechnik GmbH

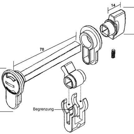
    Szczegóły produktu i zakres dostawy

    SKU: 138248
    EAN: 4260240672184

    Zakres dostawy:
    - 1x SCHNEGEL WC/moduł łazienkowy z drzwiami całoszklanymi, montaż poziomy
    - Moduł WC/łazienkowy PZ (jako kompletny zestaw) ze śrubą do płyty czołowej, kluczem imbusowym i instrukcją montażu

    Opis produktu:
    do zamków wpuszczanych o długości trzpienia wkładki 70 i 100 mm z regulacją wstępną - do łatwego przestawienia na funkcję rygla WC - obrót gałki zamka o 90° - otwieranie awaryjne z głowicą szczelinową - czerwony/zielony wskaźnik zajętości - w komplecie śruba czołowa do mocowania jak wkładka bębenkowa - blokowanie śrubą z gniazdem sześciokątnym

    Dane techniczne:
    - Powierzchnia: odlew aluminiowy
    - Odpowiedni dla: Drzwi całoszklane, montaż poziomy
    - Uzupełnienie: z akcesoriami
    - Marka: SCHNEGELDo użytku komercyjnego, należy przestrzegać przepisów budowlanych!

    W przypadku użytku komercyjnego należy przestrzegać przepisów budowlanych!

    Ostatnio oglądane

    Najważniejsze pytania w skrócie

    Jak mogę zapłacić za zamówienie?

    Oferujemy wiele bezpiecznych metod płatności:

    Metody płatności online

    PayPal, KLARNA, Google Pay, Apple Pay i Shop Pay.

    Karty kredytowe

    Możesz również zapłacić za pomocą głównych kart kredytowych VISA, MasterCard i American Express. W tym przypadku płatność jest zabezpieczona przy użyciu metody 3D Secure. Jeśli będziemy mieć jakiekolwiek oznaki nieuczciwego zamówienia, automatycznie je anulujemy.

    Jak mogę otrzymać fakturę?

    Fakturę otrzymasz automatycznie w osobnej wiadomości e-mail od naszego partnera wysyłkowego po otrzymaniu płatności. Nie jest ona dostarczana bezpośrednio z potwierdzeniem odbioru. Faktura papierowa jest również dołączana do zamówienia.

    Dlatego prosimy o ponowne sprawdzenie folderu spamu i zarejestrowanie się w naszym portalu faktur.

    Zwroty: Chcę coś odesłać

    Jeśli chcesz zwrócić swoje zamówienie lub jego część i jesteś z UE 🇪🇺 , zapoznaj się z naszym portalem zwrotów.

    W przypadku zwrotów ze Szwajcarii 🇨🇭 i Liechtensteinu 🇱🇮 skorzystaj z tego portalu zwrotów

    Gdzie jest moje zamówienie?

    Istnieją różne sposoby śledzenia statusu przesyłki:

    Wysyłka trwa zazwyczaj 1-4 dni robocze. Jeśli trwa to dłużej lub uważasz, że paczka zaginęła, skontaktuj się z nami tutaj w naszym portalu problemów.

    Twoja rodzina narzędzi

    • <strong>Spersonalizowane porady</strong>

      Spersonalizowane porady

      W przeciwieństwie do wielu innych platform, u nas otrzymujesz spersonalizowane porady i usługę, która wspiera Cię przez cały czas.

    • <strong>Szybka wysyłka</strong>

      Szybka wysyłka

      Zapewniamy, że zazwyczaj otrzymasz swoje zamówienie w ciągu 2-4 dni roboczych. Aby to osiągnąć, współpracujemy z wybranymi sprzedawcami detalicznymi.

    • <strong>Najlepsze ceny</strong>

      Najlepsze ceny

      Dla każdego produktu z tym symbolem otrzymujesz obecnie najlepszą cenę online (w porównaniu z rynkiem niemieckim). Dokładne informacje znajdziesz na stronach produktów.

    To jest Toolbrothers

    Narzędzia są motorem napędowym naszego społeczeństwa. Niezależnie od tego, czy budujesz dom, kupiłeś szafę IKEA, czy w końcu chcesz naprawić kapiący kran. Potrzebujesz narzędzi. Dostarczamy Ci narzędzia - w stylu Toolbrothers.

    • Błyskawicznie
    • Niezawodny
    • Z najlepszą obsługą

    Logowanie

    Czy zapomniałeś hasła?

    Nie jesteś jeszcze członkiem klubu?
    Załóż konto